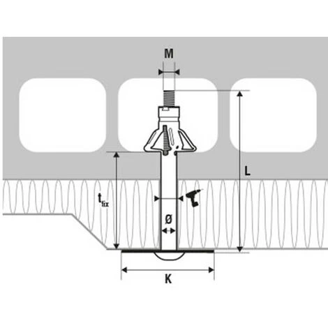
Caractéristiques
- DiamĂštre : 12
- Longueur: 195
- Type d’isolant compatible: Isolant rigide
La cheville FI-S permet de poser tous types d’isolant rigides ou semi-rigide sur les supports creux, notamment le plancher hourdis ou les maçonneries creuses, parpaing creux, plaques de plĂątre.
Pose traversante Ă travers l’isolant.
Pose Ă l’aide d’une pince pour cheville corps creux (mode de pose conseillĂ© , pose possible Ă©galement Ă la visseuse avec un embout PZ2).
Longueur 195 mm.
Epaisseur Ă fixer 150 mm.
DiamÚtre perçage 12 mm.
DiamĂštre rosace 38.
- Cheville : 100 fixations d’isolant metallique support creux – M6 x 195 mm









Avis
Il nây a pas encore dâavis.